这将是一个紧要滚动,但也存在一些潜在问题

淌若说苹果有什么衔恨不错借口,那即是iPhone在不同世代间的外不雅尽头一样。但苹果迄今限制最大的策动变革可能出当今iPhone 20上。
对于20周年iPhone的败露来自The Information的一份报说念,该报说念还骄矜了30款行将推出的苹果建立的蹊径图。访佛于2017年iPhone X的发布,苹果似乎将跳过iPhone 19。不外,这并不是独一变化的部分,预测这款手机还将迎来一次大规模的策动调动。

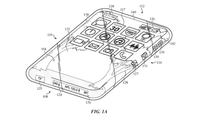
据传,苹果正推断打造一款包覆手机四边的全边曲面骄矜屏。苹果还有传言将用一条窄金属带取代钛合金框架,环绕建立中间。这是个道理的成见,但你可能会酷好按钮方面会怎样运作。咱们大要能找到谜底,因为客岁十月发现的一项专利标明,iPhone 20本色上将终了无按钮。专利中,电源音量诊治和动作按钮均升级为固态按钮,集成在机架中。据传该手机还将配备屏幕下录像头,取代动态岛刘海。
曲面骄矜器看起来很棒,但也有问题

看成一个成见,看到苹果寻求如斯激进的策动变革很道理,但有些问题需要处分。最初,是耐用性问题,曲面骄矜器名义积较大,掉落时更容易损坏。这些问题因贴上相宜的屏幕保护膜而加重,正如连年来繁密曲面屏手机发布时所见。
另一个潜在问题是对于屏幕下录像头的举座确立。苹果并不是首家礼聘该期间的公司,但很多手机制造商——比如三星——因影响画质而在后续手机中排除了该策动。尽管如斯,有传奇称苹果推断在iPhone 18和传奇中的iPhone Fold中配备屏下录像头。是以公司可能找到了处分决议。
据传言,iPhone 20还要近两年才会问世,是以暂时不要把任何详情的论断齐当成详情。但迎接告诉咱们,跟着咱们迈入2026年,你但愿苹果翌日看到什么。
上一篇:国台办回话好意思对台军售:要是“台独”隔离势力胆敢冲破红线 咱们必将迎头痛击
下一篇:没有了


